DIN-konforme Berechnungsaufgaben

Berechnung des Hydraulikantriebs einer Schwenkbrücke.

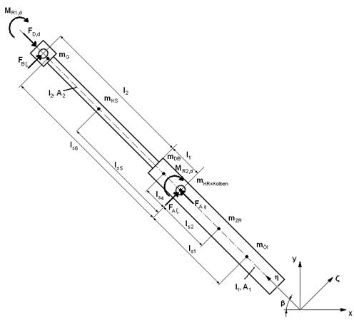
Für einen namenhaften Hersteller wurde eine DIN-konforme Berechnung eines Hydraulikzylinders im Antriebssystem einer Stahlschwenkbrücke durchgeführt. Zu diesem Zweck ist der Aufbau und die Wirkungsweise des Zylinders in Verbindung mit den angekoppelten Tragwerken des Stahlwasserbaus einer detaillierten Analyse unterzogen worden. Der umfangreiche Berechnungsvorgang und die erforderlichen Nachweise für die behördlichen Genehmigungsverfahren wurden ausführlich und nachvollziehbar dokumentiert. Der Einsatzzweck des Hydraulikzylinders als Hauptantrieb einer Schwenkbrücke setzt hohe Maßstäbe an die Sicherheit und ist mit außergewöhnlichen technischen Parametern verbunden. Bemerkenswerte Eckdaten des Zylinders sind 200kN Nennkraft bei 250bar Betriebsdruck und der Hub von 6100mm.

Kommentare sind geschlossen.